NOVOSENSEは、新たなデュアルチャンネルハーフブリッジゲートドライバ「NSD3602-Q1」シリーズを発表しました。本製品は2チャンネルハーフブリッジ駆動を提供し、1チャンネルのDCブラシモータまたは1~2チャンネルの電磁弁を駆動可能です。NSD3602-Q1はパワーウィンドウ、電動シート、ドアロック、電動テールゲート、比例弁など、車体制御における多モータ・多負荷の用途に適しています。今回新たに発表されたNSD3602-Q1は既存のNSD360x-Q1シリーズを補完する製品で、NSD360x-Q1シリーズには4チャンネルおよび8チャンネルのハーフブリッジドライバ製品も含まれています。

製品特性
◆ 広範囲の動作電圧:4.9V~37V(最大40V)
◆ 2チャンネルのハーフブリッジゲートドライバ
◆ 設定可能なタイミングの充放電電流駆動(CCPD)により、EMC性能を最適化
◆ 内蔵チャージポンプにより0~100% PWMを実現
◆ 1チャンネルのプログラマブルなワイドコモンモードオペアンプを内蔵
◆ 低消費電力モード
◆ 2つのバージョン:SPIバージョンは16ビット10MHzのSPI通信をサポート、ハードウェアバージョンはIOの独立構成をサポートし、MCU IOを削減
◆ 包括的な診断および保護機能
◆ 動作温度:Tj=-40°C~150°C
◆ パッケージ形式:VQFN32
◆ AEC-Q100認証取得

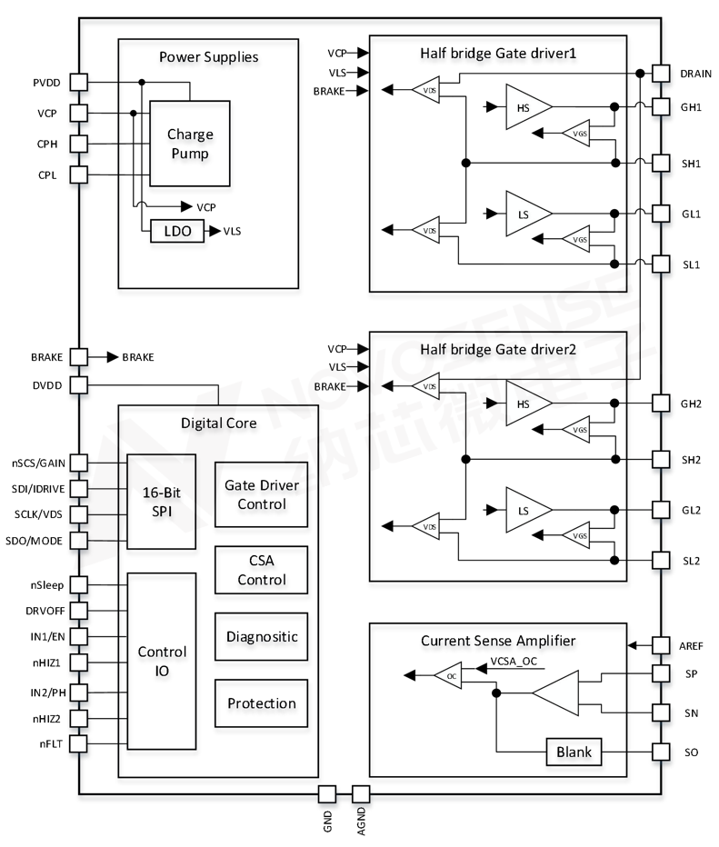
NSD3602-Q1機能ブロック図
設定可能なタイミングの充放電電流駆動(CCPD):EMC性能を最適化
電動テールゲートやサンルーフが車体アンテナに非常に近いなど、車体制御用途におけるアクチュエータの特殊な配置により、該当するモータドライバには高いEMC要件が求められます。ドライバは、PWM動作中でも放射および伝導EMI(RE/CE)を低く保つ必要があります。
こうした課題に対応するため、NSD3602-Q1は設定可能なタイミングの充放電電流駆動(CCPD:Configurable Charge/Discharge Current Profile Driver)を提供しています。NSD3602-Q1は、外部負荷(MOSFET)のパラメータおよびアプリケーション要件に応じて、2チャンネルハーフブリッジ独立タイミング電流PWM駆動を同時に実現可能です。電流型ドライブ方式では、外部ゲート抵抗やGS/GDコンデンサは不要です。
以下の図に示すように、NSD3602-Q1のCCPDモジュールはMOSのオン/オフプロセスを3つの段階:プリチャージ/プリディスチャージ段階、チャージ/ディスチャージ段階、テールディスチャージ段階(オン時は2段階のみ)に分割します。すべての段階において、継続時間と駆動電流は個別に設定可能です。

CCPD駆動時間のイメージ図
ワイドコモンモードオペアンプ:高精度な電流検出を実現し、部品表(BOM)の簡素化に貢献
NSD3602-Q1には1つの高性能差動増幅器(CSA)が内蔵されており、外部のサンプリング抵抗にかかる差動電圧を測定することで電流を検出します。CSAモジュールはプログラマブルな増幅率とバイアス、広いコモンモード範囲、双方向入力、ブランキング、およびサンプル&ホールド機能をサポートしており、正確かつ柔軟な電流サンプリングを可能にすることで、顧客のBOMを削減します。
包括的な診断および保護機能により、システムの信頼性が向上
NSD3602-Q1はリアルタイムの電源およびチャージポンプ電圧監視をはじめ、DVDD UV、PVDD OV、PVDD UV、VCP UVといった完全な欠圧・過電圧診断保護機能を搭載しています。また、駆動モジュールの監視によりVGSおよびVDSの診断保護を実現し、動作中およびオフ状態の両方で負荷の開回路・短絡診断が可能です(内部にプルアップ/プルダウン電流源を内蔵することでオフ状態での負荷検出が可能)。さらに、過熱アラームおよび過熱保護、CSA過電流診断、ウォッチドッグ、スリープモードおよび動作モードでのブレーキ保護機能など、多様な保護機能を内蔵しています。これらすべての診断保護機能は、SPIによる設定や情報の読み出しをサポートし、独立したPINピンからのIOステータス出力にも対応しています。
NSD3602-Q1に内蔵されたブレーキ保護機能は、外部からの機械的な力(人的な引っ張りや引きずりなど)による電圧サージを効果的に抑制し、MOSFETの過電圧による損傷を防止します。この機能はスライドドア、電動ステップ、テールゲートストラットといった用途において特に重要で、誤操作や突発的な衝撃によって発生するシステム故障のリスクを低減し、全体の信頼性向上に貢献します。
バリエーションとパッケージ
NSD3602-Q1に加え、NOVOSENSEは異なるチャネル数のニーズに応えるため、NSD3604/8-Q1も提供しています。NSD3602/4/8-Q1シリーズは、2/4/8ウェイハーフブリッジ駆動に対応しており、高集積度と設計の柔軟性を兼ね備え、複数のモータおよび多負荷アプリケーションに適しており、顧客の製品選定を支援します。
